
Tractor RH Right Hand Spindle Fits Massey Ferguson 175 178
Mfr # 897456M96
Zoro # G108344140
product price:Â $239.99
/ea
Free Shipping & Returns
Get a 10% off coupon
Free 30-day returns
Return PolicyGet 30 days to pay with Net 30
Apply NowReal support from real people
Contact our U.S. based teamSpecifications
Product Information
MFR #
897456M96
Zoro #
G108344140
UPC #
-
Country of Origin
Turkey
Description
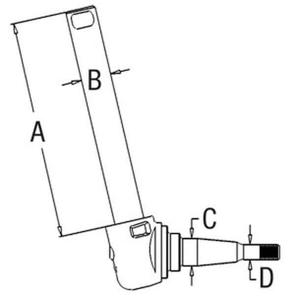
One New Aftermarket Replacement Right Hand Spindle Fits strongFits Massey Ferguson Tractor models 175, 178 UK Modelstrongfontpp ppfont faceArialbDimensions bfontppppfont faceArialbA 13875bfontfont faceArialbB 1496bfontfont faceArialbC 1375bfontfont faceArialbD 075bfontpp ppfont faceArialbReplaces Part Number 897456M96 bfontpp ppppfont faceArialbbfontp
Restrictions
WARNING:
Cancer and Reproductive Harm
For more information go to
www.P65Warnings.ca.gov
Ratings & Reviews
3 Reasons You Can Count On Us
Supplies for every job.
10 million items and the exact one you need.
When you need it fast, count on Zoro!
2 million products ship in 1 day.
Stretch your budget further.
Everyday low prices on the brands you love.