
Right Hand Left Hand Spindle Fits John Deere Tractors Model 5205
Mfr # RE73022
Zoro # G408428205
product price: $735.99
/ea
Free Shipping & Returns
Get a 10% off coupon
Free 30-day returns
Return PolicyGet 30 days to pay with Net 30
Apply NowReal support from real people
Contact our U.S. based teamSpecifications
Product Information
MFR #
RE73022
Zoro #
G408428205
UPC #
-
Country of Origin
Turkey
Description
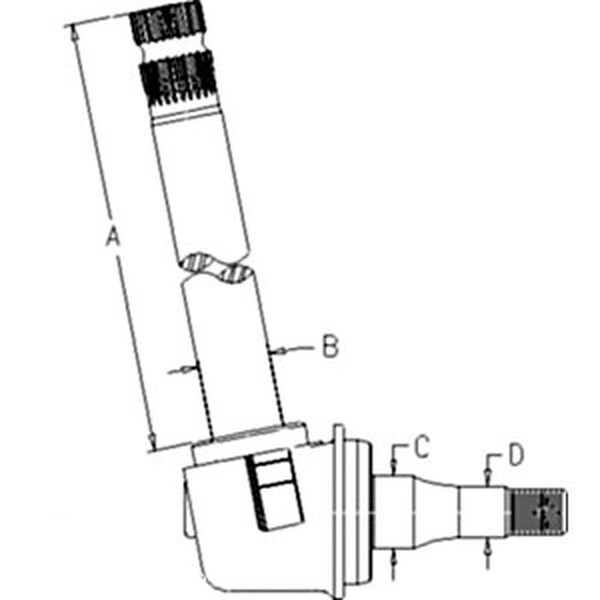
One New Aftermarket Replacement Right Hand Left Hand Spindle Fits John Deere Tractor Model 5205 2WD w Adjustable Steering CylinderTech InfoDim A 1000 Dim B 1378 Dim C 1378 Dim D 0984 bReplaces Part Numbersb RE73022
Restrictions
WARNING:
Cancer and Reproductive Harm
For more information go to
www.P65Warnings.ca.gov
Ratings & Reviews
3 Reasons You Can Count On Us
Supplies for every job.
10 million items and the exact one you need.
When you need it fast, count on Zoro!
2 million products ship in 1 day.
Stretch your budget further.
Everyday low prices on the brands you love.